Microsoft wpadł na niecodzienny pomysł. Okazuje się, że koncern planuje wprowadzić na rynek plecak wspomagany sztuczną inteligencją. Przedmiot zostanie wyposażony w szereg czujników, kamerę oraz mikrofon odbierający kontekstowe polecenia głosowe. Na razie doszło do zgłoszenia odpowiedniego patentu, trudno stwierdzić czy kiedykolwiek zostanie on wcielony w życie. Nie da się jednak ukryć, że wygląda zacnie.
Microsoft wprowadzi AI także do plecaków
Asystenci zasilani sztuczną inteligencją stali się chlebem powszednim. Taką technologię odnajdziemy chociażby w głośnikach, telefonach, telewizorach, smartfonach czy komputerach. Produkty te mają ułatwić życie użytkownikom oraz wyręczyć ich z wykonywania powtarzalnych czynności. Co jednak powiecie na to, by AI zagościło w miejscach, które na pierwszy rzut oka nie mają nic wspólnego z tego typu udogodnieniami?
Microsoft kilka miesięcy temu zgłosił patent dotyczący implementacji zaawansowanych czujników i sztucznej inteligencji do przedmiotów wearables pokroju normalnych plecaków.
Jak możemy wyczytać z zamieszczonego opisu:
Opis dotyczy urządzeń do noszenia wspomaganych sztuczną inteligencją, takich jak plecaki. Przykładowy plecak może zawierać czujniki, takie jak mikrofon i kamera. Plecak może odbierać kontekstowe polecenie głosowe od użytkownika. Kontekstowe polecenie głosowe może zawierać niewyraźne odniesienie do obiektu w środowisku. Plecak może wykorzystywać czujniki do wykrywania środowiska, używać silnika sztucznej inteligencji do identyfikowania obiektu w środowisku i używać cyfrowego asystenta do wykonywania kontekstowego zadania tekstowego w odpowiedzi na kontekstowe polecenie głosowe. Zadanie kontekstowe może odnosić się do obiektu w otoczeniu. Plecak może wysyłać użytkownikowi odpowiedź na kontekstowe polecenie głosowe.


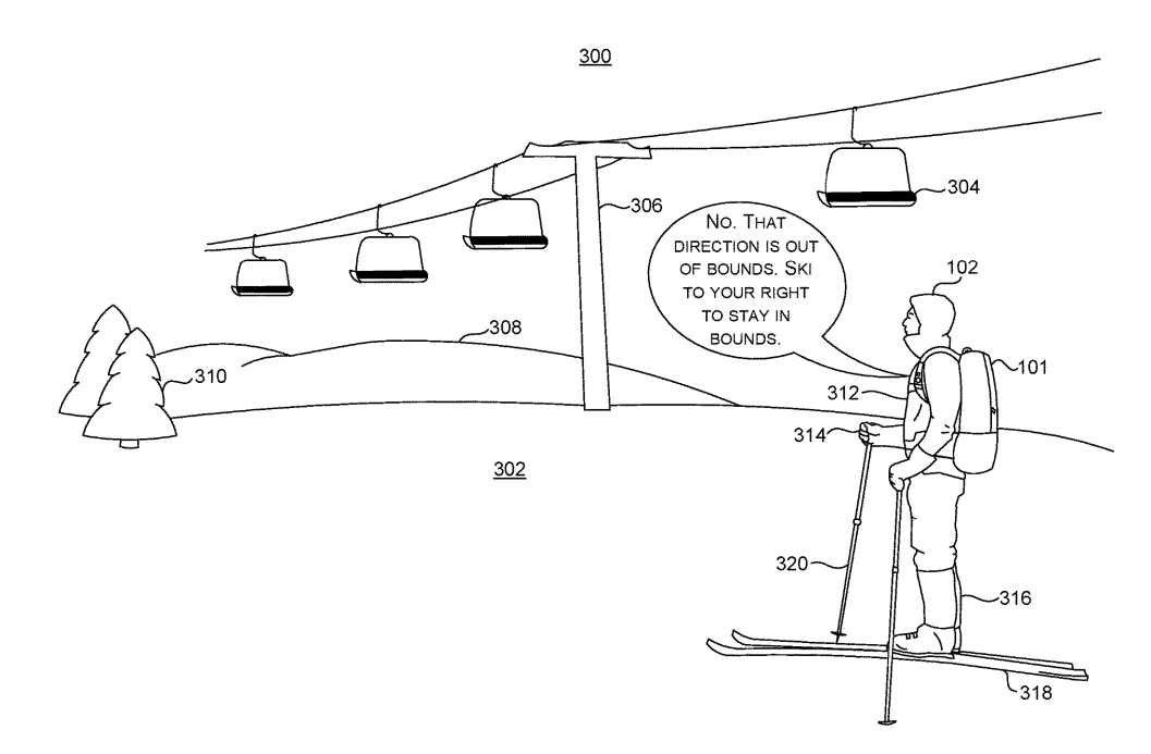
Zamieszczone rysunki wyodrębniają kilka sytuacji, w których technologia może okazać się przydatna. Na jednym z obrazków widzimy narciarza zadającego pytanie czy może podążać tym konkretnym szlakiem. Plecak radzi mu wybrać inną trasę z powodów bezpieczeństwa. Decyzję tę podjęto na podstawie pozyskanych danych nie tylko z czujników, ale też internetu. Całość byłaby bowiem przy okazji połączona z chmurą.
Wiele osób może zadać sobie pytanie – po co to? Trudno powiedzieć, zwłaszcza że żyjemy w świecie, gdzie jesteśmy praktycznie otoczeni przez urządzenia pozwalające robić to samo, co „plecak przyszłości”. Microsoft najwyraźniej chce, by w każdej sytuacji technologia mogła zrobić zdjęcie czy zareagować na zachcianki konsumenta.

Koncern zresztą od wielu lat próbuje swoich sił w przeróżnych segmentach rynku. Teraz oczkiem w głowie jest sztuczna inteligencja i możliwe, że zostanie nim przez dłuższy czas. Przy okazji warto pamiętać, że patent nie jest równy produkcji danego urządzenia/usługi. Mowa tu wyłącznie o zabezpieczeniu pomysłu, który tak naprawdę może nigdy nie zostać przekuty w realny produkt.
Obecnie więc plecak wspierany przez AI pozostaje w sferze domysłów. Jak to jednak bywa – nigdy nie wiadomo czym Microsoft zaskoczy konsumentów. Może prace nad powyżej opisanym projektem już trwają?
Źródło: PCWorld, United States Patent and Trademark Office / Zdjęcie otwierające: