Apple zamierza opatentować… papierową torbę!

Maciej D.Skomentuj
Apple zamierza opatentować… papierową torbę!
Dla nikogo, kto śledzi branżę technologiczną, news o tym, że Apple zamierza coś opatentować, nie powinien być zaskoczeniem. O wojnach patentowych toczonych z Samsungiem pisaliśmy już wielokrotnie. W przeszłości Apple opatentowało zarówno kształt ekranów z zaokrąglonymi rogami czy też sposób na odblokowanie smartfona.



Tym razem musimy jednak przyznać, iż amerykańska firma bardzo nas zaskoczyła. Jednym z ostatnich wniosków patentowych, jakie Apple złożyło odpowiednich urzędach w USA jest… papierowa torba.

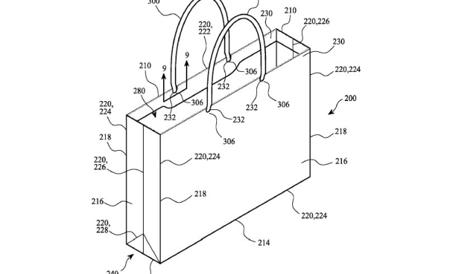
Zapewne zastanawiacie się czy najnowszy patent to jakiś nowy gadżet naszpikowany elektroniką. Być może chodzi o nowe urządzenie, które otrzymałoby uroczą nazwę iBags? Otóż nie! Papierowa torba, którą będzie produkować Apple jest po prostu produktem w pełni ekologicznym.



Gigant z Cupertino zamierza wykorzystywać ją do pakowania sprzedawanych przez siebie urządzeń. Firma odejdzie od torebek foliowych, które ze względu na długi okres rozkładu, stanowią obciążenie dla środowiska naturalnego. Oczywiście papierowa torba Apple nie będzie tak do końca zwyczajna. Jak możemy przeczytać w projekcie, będzie w 60 proc. biodegradowalna.

W procesie produkcji zostanie użyty specjalny papier SBS, który jest odporny na rozrywanie. Firma zwraca również uwagę na rzekomo nowatorskie rączki, które swoją fakturą mają w dotyku przypominać… powszechne sznurówki. Aby zapewnić dużą wytrzymałość wnętrze torby będzie wzmacniane dodatkową wkładką. Czy papierowa torba naprawdę będzie tak innowacyjna, aby uzasadniać powstanie osobnych patentów? Na to pytanie musicie odpowiedzieć sobie sami.

Źródło/Zdjęcia: The Guardian


Maciej D.