Polecamy: BMW już niedługo wprowadzi gry do swoich samochodów
Wyświetlacz zamiast nerek w BMW
Dokumenty złożone przez BMW w Światowej Organizacji Własności Intelektualnej (WIPO) pokazują projekty zawierające futurystyczny projekt przedniej części nowych samochodów tej marki. Na rysunkach widzimy reflektory, czujniki funkcji wspomagających kierowcę, a także charakterystyczną dla BMW atrapę chłodnicy z dwoma nerkami w… cyfrowym wydaniu. Tak, w elektrycznych samochodach, nie potrzebujących z przodu wlotu powietrza, pojawi się wielki wyświetlacz.
W dokumentach patentowych znalazły się również wzmianki o „technologii przewodzącej światło” – specjalnym materiale pokrywającym osłonę chłodnicy, który może zmieniać się z nieprzezroczystego na przezroczysty. W momencie wyłączenia reflektorów pas przedni miałby jednolity wygląd. Część grilla stawałaby się przezroczysta dopiero w momencie aktywacji świateł, pozwalając wiązce światła przenikać przez transparentny materiał.
Źródło: Auto Express
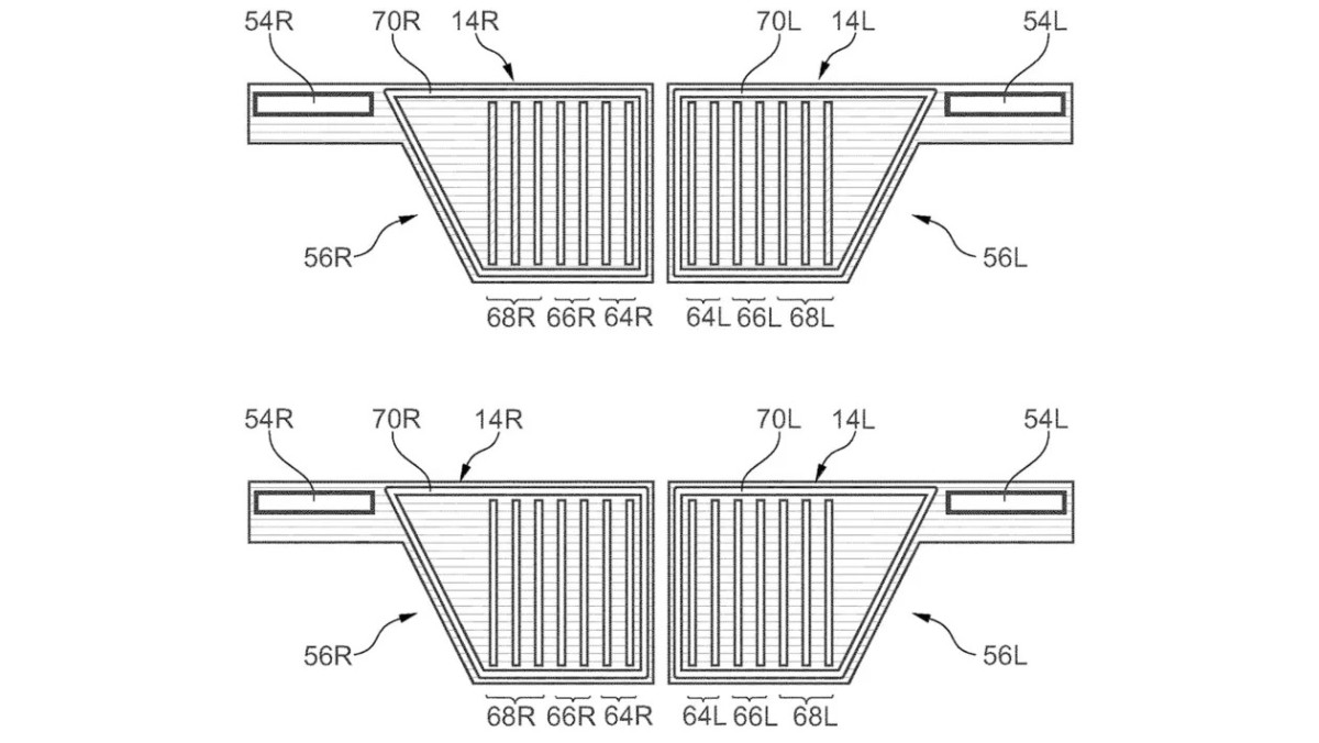
Powyższe rysunki techniczne przedstawiają możliwości wykorzystania powierzchni grilla do prezentowania światła. W ustawieniu off podświetlenie jest po prostu wyłączone. W „On 1” widzimy paski przypominające światła do jazdy dziennej w ich tradycyjnym położeniu w rogach przedniego pasa. W „On 2” z kolei prezentowane są podświetlane elementy imitujące pionowe listwy grilla.
Nie przegap: Elektryczne BMW nie zainstaluje aktualizacji oprogramowania jeśli auto krzywo stoi
Nie chcę nawet wyobrażać sobie, ile kosztowała będzie wymiana takiego wyświetlacza w ASO w razie jego uszkodzenia. Czyżby był to kolejny etap w usilnym zachęcaniu ludzi do użytkowania samochodów maksymalnie przez okres gwarancji?
BMW planuje wprowadzić na rynek rodzinę samochodów elektrycznych nowej generacji o nazwie Neue Klasse (pol. „nowa klasa”) w oparciu o dedykowaną platformę począwszy od 2025 roku. Mimo to producent prognozuje, że połowa pojazdów sprzedawanych na całym świecie w 2030 roku będzie nadal napędzana silnikami spalinowymi.
Czy nerki w BMW będą płatne ekstra?
Niewykluczone. Obserwując obecny trend polegający na oferowaniu coraz większej liczby funkcji auta w modelu subskrypcji, jest to zupełnie prawdopodobne. Skoro można oferować podgrzewane siedzenia w modelu subskrypcji, dlaczego nie robić z tego samego z efektami iluminacji grilla? Przedstawiciele BMW powiedzą zapewne, że „nie każdy potrzebuje” podświetlenia w tym miejscu, więc może „oszczędzić” nie ponosząc dodatkowego wydatku. Pokrętna logika? Poczekamy, zobaczymy.
Sprawdź: Dacia kpi z podgrzewanych siedzeń na abonament w BMW. Rozdaje kierowcom termofory
Z drugiej strony, czy BMW odważyłoby się domagać dodatkowych opłat za coś, z czym kojarzono samochody tej marki od blisko trzech dekad? Jak sądzicie?
Źródło: Auto Express

