Ford robi w ostatnim czasie wiele, aby konsumenci stracili sympatię do tej marki samochodów. Niedawno polski oddział firmy opublikował dość kuriozalne oświadczenie, w którym odnosi się do afery związanej z zaniżoną mocą w samochodach Ford Focus ST. Przypominamy, że przedstawiciele koncernu de facto podważyli nim kompetencje właścicieli hamowni oraz tunerów, zaprzeczając temu, jakoby auta legitymowały się mocą niższą od deklarowanej. Teraz do sieci wyciekł patent sugerujący, że Ford chce podsłuchiwać rozmowy pasażerów aut tej marki. Ma to związek z reklamami.
Ford chce słuchać rozmów w autach – intrygujący patent w sieci
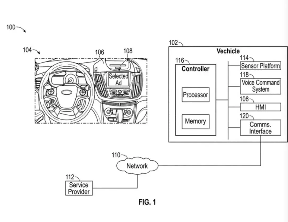
W dzisiejszych czasach informacja na temat zwyczajów konsumenckich jest szalenie cennym towarem. Wystarczy zwrócić uwagę na to, jak ogromne ilości danych telemetrycznych zbierają przeróżne otaczające nas urządzenia i to, ile później skłonne są za nie płacić największe korporacje na świecie. Doskonale wie o tym Ford, który opatentował rozwiązanie umożliwiające nasłuchiwanie rozmów prowadzonych w autach.
Dostrzeżony w sieci wniosek patentowy Forda opisuje system reklamowy w pojazdach, który dostarczałby kierunkowane reklamy kierowcom i pasażerom. System analizowałby kilka czynników, aby dostosować te treści. Miałby uwzględniać informacje takie jak lokalizacja pojazdu, prędkość, rodzaj drogi i warunki drogowe. Zgodnie z treścią dokumentu, technologia ma na celu „zapewnienie maksymalnych możliwości monetyzacji opartej na reklamach”, poprzez wykorzystanie algorytmów predykcyjnych w celu określenia optymalnego czasu i formatu dostarczania reklam. Na przykład system może wybrać reklamę audio zamiast wizualnej, jeśli pasażerowie są zaangażowani w rozmowę.

Wyobrażacie to sobie?
Reklamy są wciskane dosłownie do wszystkich produktów, nawet płatnych. Jeszcze kilka lat temu produkty towary płatne od bezpłatnych różniły się między innymi właśnie brakiem reklam. A dziś? Coraz więcej reklam w smartfonach, systemie Windows, na kiedyś wolnych od nich platformach VOD. Wyobrażacie sobie, że za jakiś czas podróże wcale nie tanimi samochodami „umilały” Wam będą reklamy, których nie będzie się dało wyłączyć? Nie? Konsumenta da się przyzwyczaić do wszystkiego.
Ford wydał już komunikat w sprawie tego patentu. Myślicie, że zaprzeczono czemukolwiek? Nic bardziej mylnego. Przyjęto typowo korporacyjną defensywną postawę:
Składanie wniosków patentowych jest częścią działalności każdej solidnej firmy, ponieważ proces ten chroni nowe pomysły i pomaga budować szerokie portfolio własności intelektualnej (…) Pomysły opisane we wniosku patentowym nie powinny być traktowane jako wskazówka co do naszych planów biznesowych lub produktowych (…)
– czytamy w oświadczeniu dla The Record.
Stwierdzono, że Ford „zawsze będzie stawiać klienta na pierwszym miejscu przy podejmowaniu decyzji dotyczących rozwoju i marketingu nowych produktów i usług”.
Oczywiście takie rzeczy jak chęć zarobku i dobro firmy zawsze będą na dalszym planie. Najważniejszy dla korporacji zawsze jest konsument i jego interes, pamiętajcie.
To, że patent wskazuje na to, iż Ford chce słuchać rozmów prowadzonych w autach nie oznacza oczywiście, że system taki zostanie ostatecznie wprowadzony. Zależy to wyłącznie od postawy konsumentów i tego, na co będą godzić się w kolejnych latach.
Źródło: documentcloud.org, The Record