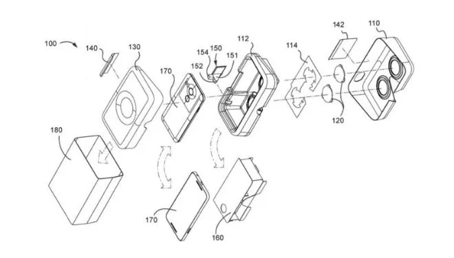
Do sieci przedostały się informacje na temat nowego produktu, który został oficjalnie opatentowany przez Google. To, co rzuca się w oczy niemalże od razu, to podobieństwo do zestawu Cardboard, który istnieje na rynku od 2014 roku. Dla przypomnienia, jest to po prostu zestaw do wirtualnej rzeczywistości, który do działania wykorzystuje smartfona oraz kartonowy pokrowiec zakładany na twarz użytkownika.
Bardzo możliwe, iż nowy patent wskazuje na drugą, równie tanią generację sprzętu. Google mimo rozwoju innych projektów dalej chce dostarczać użytkownikom prostych rozwiązań pozwalających na zabawę w świecie wirtualnym. Nie ma co się dziwić, bowiem mimo upływu czasu, pierwsza generacja Cardboard sprzedaje się fantastycznie.
Na ten moment nie wiadomo, kiedy konkretnie możemy spodziewać się premiery Cardboard 2 oraz czy w ogóle ten sprzęt zostanie zaprezentowany. Biorąc jednak pod uwagę ilość przecieków można się spodziewać, iż amerykańska firma szykuje jakąś niespodziankę, którą pokaże nam jeszcze przed wakacjami.
Źródło: Google Patents

