Choć praktycznie wszyscy producenci projektując nowe klawiatury zwracają uwagę na to, by były one odpowiednio podświetlane, posiadały wytrzymałe klawisze czy oferowały szereg różnorodnych funkcji, to jeszcze żaden z nich nie pochylił się nad tak prozaiczną kwestią, jak okruchy.
Fragmenty jedzenia, pyłki czy nawet kurz dostają się do środka naszego sprzętu w ekspresowym tempie – wpadają do środka poprzez przerwy pomiędzy klawiszami czy też miejsce w klawiszach membranowych, które wypychają powietrze przy każdym naciśnięciu przycisku. Z tym problemem postanowiło walczyć Apple.
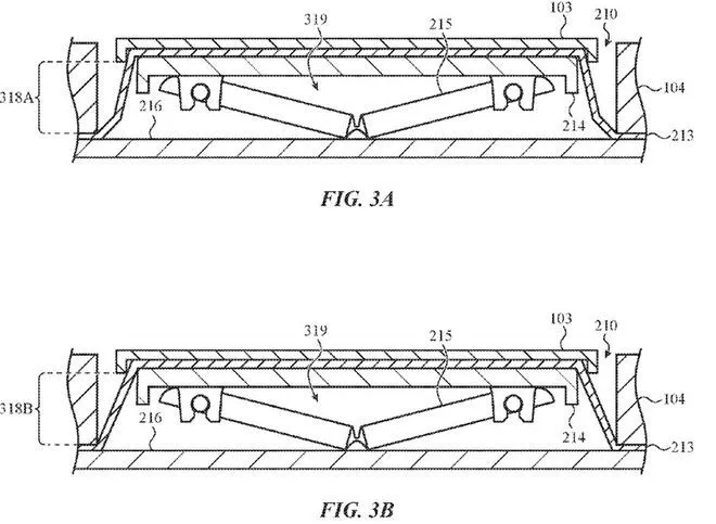
Do urzędu patentowego trafił projekt, w ramach którego miałaby powstać klawiatura nie pozwalająca na dostanie się do wnętrza różnorodnych paprochów, okruszków i innych niemile widzianych gości. Patent nie jest nową sprawą – został on opublikowany we wrześniu 2016 roku.
Jak stwierdziło w opisie Apple, klawisze zaprojektowane w sposób widoczny na obrazku powyżej nie mogą być zniszczone przez płyny lub okruszki. Nie wiadomo, czy kiedykolwiek zobaczymy taką klawiaturę na rynku – koncern z Cupertino na razie nie potwierdził jej istnienia, ale miło byłoby, gdyby stała się ona udziałem na przykład jednego z nowych MacBooków.
źródło: The Verge
