Niełamliwe przewody Apple
Producenci elektroniki znają doskonale obejście problemu psujących się przy wtyczce kabli. Najprostszym sposobem na uniknięcie awarii z perspektywy konsumenta jest kupienie przewodu w odpowiednim oplocie. Jest to solucja stosowana powszechnie i nie stanowiąca ekskluzywnej własności żadnej z firm. Apple jest tak dumne ze swojego najnowszego pomysłu, że właśnie postanowiło spróbować objąć go patentem. Odpowiedni wniosek trafił już do amerykańskiego urzędu patentowego.
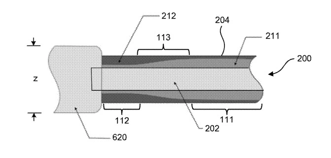
Kabel o zmiennej sztywności, bo tak się nazywa technologia, którą producent z Cupertino chce chronić patentem, nie będzie ograniczała się wyłącznie do okablowania Lightning, jako że we wniosku patentowym nie pada nawet ta nazwa.
„Powszechnie wiadomo, że zginanie kabla w pobliżu wtyczki może powodować niepożądane naprężenia na połączeniach przewodów, co z kolei może prowadzić do uszkodzenia kabla” – czytamy w dokumencie. „W związku z tym, niemal powszechnie stosuje się tuleję zabezpieczającą przed odkształceniami, wykonaną ze sztywnego materiału wokół obszaru końcowego kabla. Sztywny materiał powoduje miejscowy wzrost wytrzymałości na zginanie kabla, odciążając w ten sposób połączenia przewodów.” W dalszej części wniosku widzimy nawet krytykę dotychczasowych, konkurencyjnych rozwiązań: „Oprócz tego, że kabel jest miejscowo sztywniejszy, tuleja odciążająca sprawia, że kabel jest również grubszy na końcach. W niektórych przypadkach zwiększenie grubości może nie być pożądane”. W tym momencie na scenę wkracza novum od Apple.
Nowa propozycja Apple to rozwinięcie idei „odciążenia”, jak i ogólnego pogrubienia kabli. „Przewód może zawierać rdzeń kabla, otoczony zewnętrzną tuleją o jednakowej grubości” – czytamy w zgłoszeniu patentowym. „[Posiada ponadto] pierwszą sekcję podłużną, mającą „pierwszą” sztywność (np. odpowiadającą giętkiemu kablowi), drugą sekcję podłużną mającą „drugą” sztywność (np. odpowiadającą usztywnionemu przewodowi) i trzecią sekcję podłużną, zlokalizowaną pomiędzy pierwszą i drugą sekcją”. Trudno sobie to wyobrazić? Oto schemat nowego przewodu Apple:
Schemat przewodu, który chce opatentować Apple. | Źródło: uspto
Pierwsza sekcja ma zatem pewien nieokreślony stopień sztywności, podczas gdy druga jest od niej sztywniejsza. Sztywność trzeciej sekcji w przekroju podłużnym zmienia się, gwarantując sztywność na poziomie pomiędzy pierwszą i drugą sekcją.
Czy Apple dorzuci zmodernizowane okablowanie do swoich urządzeń, czy każe sobie płacić za nie ekstra? Dowiemy się z czasem, ale sceptycy znają już odpowiedź na to pytanie. Czy jest sens odkrywać koło na nowo, zamiast zastosować przewód w oplocie? Zapewne jest… o ile można na tym zarobić.
Źródło: uspto

